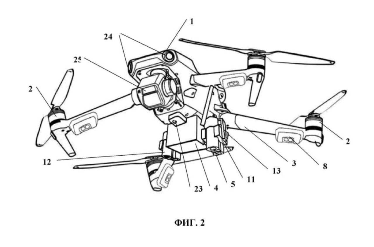
В России создали дроны с перцовыми баллончиками.
В России разработали дроны, оснащённые громкоговорителем и четырьмя малогабаритными баллончиками БАМ-ОС 1855 с экстрактом красного перца.
Их планируют применять для контроля массовых мероприятий и пресечения нарушений на несанкционированных акциях.









































